NEWS CENTER
新聞中心發布時間:2022-04-18 3485 次瀏覽
現代坦迪斯自動變速箱(山東)有限公司根據《中華人民共和國清潔生產促進法》、山東省生態環境廳《關于下達2022年度山東省實施強制性清潔生產審核企業名單的通知》(魯環字〔2022〕32號)和日照市生態環境局《關于做好2022年強制性清潔生產審核工作的通知》(日環函[2022]4號)文件要求開展清潔生產審核工作,公司自覺履行環境保護義務,主動接受社會監督,按照法律法規以及標準等要求,結合我公司實際生產情況,現將內容公示如下:
(一)企業基本信息
單位名稱:現代坦迪斯自動變速箱(山東)有限公司
法人代表:李榮珍
企業地址:山東省日照市經濟開發區重慶路333號
(二)使用有毒有害原料的名稱、數量、用途情況
2021年度企業使用有毒有害原料的名稱、數量、用途情況如下表
類別 | 序號 | 名稱 | 2021年 |
增資建設30萬臺/年變速箱項目 | |||
原輔材料 | 1 | 殼體鋁壓鑄件 | 4974 |
2 | 潤滑油 | 10 | |
3 | 潤滑脂 | 1.05 | |
4 | 切削冷卻液母液 | 55.2 | |
5 | 機油 | 40 | |
6 | 清洗液母液 | 14.3 | |
變速箱生產技改擴建項目 | |||
原輔材料 | 1 | 殼體鋁壓鑄件 | / |
2 | 潤滑油 | 5.6 | |
3 | 潤滑脂 | 0.24 | |
4 | 切削冷卻液母液 | 2.32 | |
5 | 清洗液母液 | 70800 | |
增資建設年產40萬臺無級自動變速箱項目 | |||
原輔材料 | 1 | 部件清洗液(CD-90DN/235A/CMC2) | 63200 |
2 | 清洗油 | 70800 | |
3 | 液壓油 | 2.2t | |
4 | 潤滑油 | 5.6 | |
5 | 防銹油 | 12 | |
6 | 硝酸 | 0.95 | |
7 | 酒精 | 320 | |
8 | 乙炔 | 24.96 | |
9 | 氮氣 | 483.72 | |
10 | 氫氣 | 640 | |
11 | 氦氣 | 氫氦混合氣,單位瓶 | |
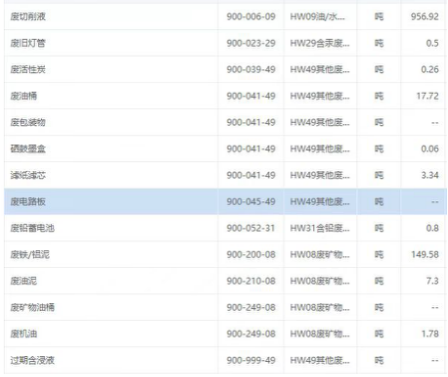
(三)危險廢物產生和處置情況
項目產生危廢收集暫存于危廢暫存間,轉移時委托有資質單位處理。2021年度企業危險廢物產生情況如下表。

(四)落實環境風險防控措施情況
現代坦迪斯自動變速箱(山東)有限公司簽署發布了突發環境事件應急預案,并在日照市生態環境局莒縣分局備案,并制定了應急演練計劃。
現代坦迪斯自動變速箱(山東)有限公司
2022年04月18日